烨弘轩电子最新到货 有最新批号 朱生 13410068358 微信同号 可提供样品 批量 方案 技术资料 技术支持 竭诚为您提供优质服务。需要查询更多产品 www.yhx-group.com 。
MSP430FR2355TRHAR MSP430FR2155TDBTR 有现货 可添加我们联系方式获取最优惠价格
原厂原包原标原装每一片都来自正规渠道每一片都可追溯
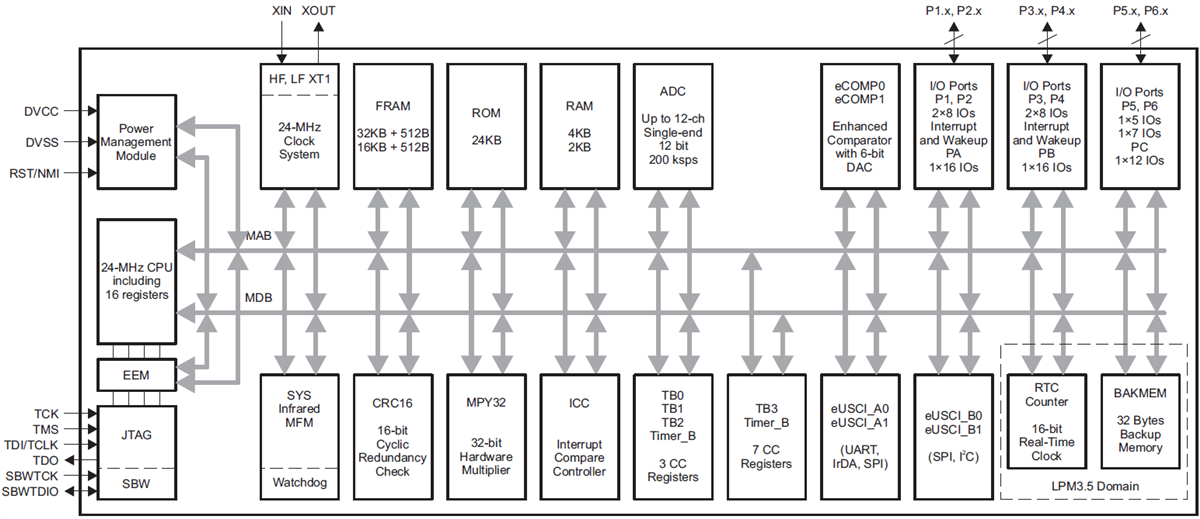
Texas Instruments MSP430FR215x/MSP430FR235x微控制器 (MCU) 是一款超低功耗、低成本器件,用于传感和测量应用。MSP430FR235x MCU集成了四个称之为智能模拟组合的可配置信号链模块,每个模块都可以用作12位DAC或可配置、可编程增益功率放大器。这些可用于满足系统的特定需求,同时降低BOM,缩减PCB尺寸。该器件还包括一个12位SAR ADC和两个比较器。
MSP430FR215x和MSP430FR235x MCU均支持扩展温度范围(-40°C至105°C),因此更高温度的工业应用可从这些器件的FRAM数据记录功能受益。扩展温度范围让开发人员可以满足烟雾探测器、传感器发射器和断路器等应用的要求。
MSP430FR215x和MSP430FR235x MCU具有一个强大的16位RISC CPU、16位寄存器和用于获得最大编码效率的常数发生器。数控振荡器 (DCO) 可在10µs内将器件从低功率模式唤醒至激活模式。
MSP430超低功耗 (ULP) FRAM微控制器平台将独特的嵌入式FRAM与整体式超低功耗系统架构相结合,使系统设计人员能够提高性能,同时降低能耗。FRAM技术将RAM的低能耗快速写入、灵活性和耐用性与闪存的非易失性相结合。
嵌入式微控制器
16位RISC架构,高达24MHz
扩展温度范围:–40°C至105°C
宽电源电压范围:3.6V至1.8V
经优化的低功耗模式(3V时)
工作模式:142µA/MHz
待机
LPM3,32768Hz晶体:1.43µA(SVS启用)
LPM3.5,32768Hz晶体:620nA(SVS启用)
关断 (LPM4.5):42nA(SVS禁用)
低功耗铁电RAM (FRAM)
高达32KB的非易失性存储器
内置错误修正码 (ECC)
可配置写保护
程序、常量和存储的统一内存
1015写入周期持久性
抗辐射和非磁性
易于使用
20KB ROM库包括驱动程序库和FFT库
高性能模拟
一个12通道12位模数转换器 (ADC)
两个增强型比较器 (eCOMP)
四个智能模拟组合 (SAC-L3) (仅MSP430FR235x器件)
智能数字外设
三个16位计时器,带三个捕捉/比较寄存器 (Timer_B3)
一个16位计时器,每个有七个捕获/比较寄存器 (Timer_B7)
一个16位仅用作计数器的实时时钟计数器 (RTC)
16位循环冗余校验器 (CRC)
中断比较控制器 (ICC),实现嵌套硬件中断
32位硬件乘法器 (MPY32)
曼彻斯特编解码器 (MFM)
增强型串行通信
两个增强型USCI_A (eUSCI_A) 模块支持UART、IrDA和SPI
两个增强型USCI_B (eUSCI_B) 模块支持SPI和I2C
时钟系统 (CS)
通用输入/输出和引脚功能
封装选项
48引脚:LQFP (PT)
40引脚:VQFN (RHA)
38引脚:TSSOP (DBT)
烟雾和热探测器
传感器发射器
断路器
传感器信号调理
有线工业通信
光学模块
电池组管理
收费标志

MSP430FR2355TRHAR MSP430FR2155TDBTR 制造商: Texas Instruments
产品种类: 16位微控制器 - MCU
安装风格: SMD/SMT
封装 / 箱体: VQFN-40
系列: MSP430FR2355
核心: MSP430
数据总线宽度: 16 bit
最大时钟频率: 24 MHz
程序存储器大小: 32 KB
数据 RAM 大小: 4 kB
ADC分辨率: 12 bit
输入/输出端数量: 36 I/O
工作电源电压: 1.8 V to 3.6 V
最小工作温度: - 40 C
最大工作温度: + 105 C
接口类型: I2C, SPI, UART
封装: Cut Tape
封装: MouseReel
封装: Reel
产品: MCU
程序存储器类型: FRAM
商标: Texas Instruments
数据 Ram 类型: SRAM
数据 ROM 大小: 24 kB
数据 Rom 类型: ROM
CNHTS: 8542319000
DAC分辨率: 6 bit, 12 bit
HTS Code: 8542310001
ADC通道数量: 10 Channel
计时器/计数器数量: 4 Timer
产品类型: 16-bit Microcontrollers - MCU
工厂包装数量: 2500
子类别: Microcontrollers - MCU
电源电压-最大: 3.6 V
电源电压-最小: 1.8 V
看门狗计时器: Watchdog Timer

MSP430FR2355TRHAR
MSP430FR2155TDBTR
MSP430FR2355TDBTR
MSP430FR2155TRHAR
MSP430FR2355TPTR
MSP430FR2153TRHAR
MSP430FR2153TDBTR
MSP430FR2353TDBTR
MSP430FR2353TRHAR
MSP430FR2353TPTR
MSP430FR2153TPTR
MSP430FR2153TDBT
MSP430FR2355TDBT
MSP430FR2155TPTR
MSP430FR2155TPT
MSP430FR2155TDBT
MSP430FR2153TPT
MSP430FR2353TDBT
MSP430FR2155TRHAT
MSP430FR2353TPT
MSP430FR2153TRHAT
MSP430FR2355TPT
MSP430FR2355TRHAT
MSP430FR2353TRHAT

深圳市烨弘轩电子有限公司,我司2011年成立于中国经济特区深圳.我司专注于为全球电子企业提供优质的电子零件供应服务,竭力打造全球品牌元器件零售与批量供应中心。
专业经营各类电子元器件(集成电路IC,存储芯片,分立器件,电源,无源元件,连接器,继电器,传感器,光电子,开关,保险元件,紧固件,开发工具,变压器,测试与测量等)。
我们以低成本提供全方位一站式电子元件供应链采购方案,包括但不仅限于电子元件紧急物料搜寻,电子元件齐套供应、电子元件降低成本的长期供应,库存寄售等一系列供应链解决方案。优势供应各类电子组件.
==================
深圳市烨弘轩电子有限公司 重点客户遍布中国内地 港 澳 台地区,另外欧美发达国家以及 一代一路沿线发展中国家我司也有大量长期合作的优质客户。
==================
深圳市烨弘轩电子有限公司 为一般纳税人 可开具17%增值税票 有合作基础可申请月结,延长账期等多种供货付款方式。
==================
公司经营目标:整合全球资源全 芯 全意为您服务。
公司服务宗旨:客户虐我千百遍,我待客户如初恋。
==================
主营 : 主动电子元器件 集成电路 IC 芯片 (AD TI MAX NXP ST LT XILINX ALTERA)等。
==================
联系方式: 您可以通过下面任意一种方式 联系到我们
企业网站:www.yhx-group.com
shype: pretying
阿里旺旺:cd_prety
微信号:yihuazhu666
销售经理:朱宜华 深圳市烨弘轩电子有限公司 深圳市福田区华强北街道振兴西路405栋616房
电话: 0755-82548684 多线
传真: 0755-82523504
手机: 13410068358
QQ : 746277983 1520285168
微信号: yihuazhu666
邮箱: zyh1818118@126.com
==================
烨弘轩电子郑重承诺:
我司所售物料 可提供样品 批量 方案 技术资料 技术支持。所有物料都是 原厂原包原标原装,每一片都来自正规渠道,每一片都可追溯。










